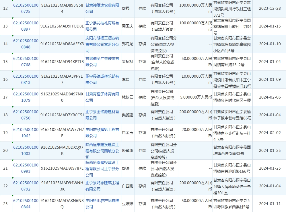
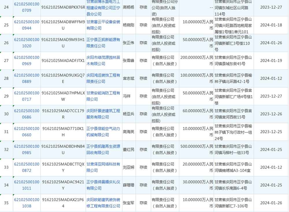
索引号: 3070211020000013000000/2024022800000011 发布机构: 生效日期: 2024-02-28 废止日期: 文 号: 所属主题: 行政许可 2024年1-2月企业基本信息 来源: 发布时间:2024-02-28 浏览次数: 次 【字体:小 大】 202402281008430396.xlsx 【打印正文】 分享到: 【字体:小 大】
账号+密码登录
手机+密码登录
还没有账号?
立即注册